Фото: Belkin Alexey/news.
Записи опубликованы в “День: 20.01.2026”
тестовый баннер под заглавное изображение Как видно из статистики, продажи говядины снизились, а баранины просто рухнули. Эксперты говорят о том, что в России не хватает…
тестовый баннер под заглавное изображение «Проводится работа по установлению запрета на изготовление и сбыт предметов, имеющих сходство с банкнотами и монетами Банка России, в том…
тестовый баннер под заглавное изображение «Серьезный риск — в алчности производителей и продавцов» Источник
Reuters сообщил о сокращении экспорта через КТК после аварии в Казахстане На долю «Тенгизшевройл» приходится около трети всей добычи нефти в Казахстане Фото: Анатолий Устиненко…
Шереметьево стало претендентом на аэропорт Домодедово Шереметьево готово принять участие во втором этапе аукциона по продаже Домодедово. Первый аукцион с начальной ценой 132,2 млрд руб.…
Дилеры чешской марки в Индии уже начали собирать предзаказы на рестайлинговый паркетник, первые покупатели получат свои машины в конце марта 2026 года. Skoda выпускает компактный…
Honda обновила свой старый хэтчбек Fit, узбекский Chevrolet представил новое поколение Damas, а Renault выкатила еще один кроссовер на базе Geely. Здесь неделя на Колесах…
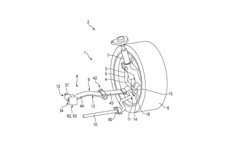
Компания Porsche продолжает патентовать нестандартные технические решения которые могут пригодиться ей в будущем: на днях в в электронной базе WIPO (Всемирная организация интеллектуальной собственности) всплыла…
| Два года назад седан SU7 стал первым автомобилем электронного гиганта Xiaomi. Покупателям пришлось по вкусу сочетание высоких характеристик и низкой цены электромобиля: в дебютном 2024…









